1. تعارف
The BOSCH 0280218089 Mass Air Flow (MAF) Sensor is an original equipment component designed to accurately measure the amount of air entering your engine. This precise measurement is crucial for the Engine Control Unit (ECU) to calculate the correct fuel injection quantity, ensuring optimal combustion, fuel efficiency, and reduced emissions. Bosch MAF sensors are engineered for reliability and performance, meeting stringent vehicle requirements.
اہم خصوصیات:
- OE technology for correct function and calibration.
- Up to 20% better fuel consumption through accurate air flow measurement.
- Patented design for increased robustness against water and particulate contamination.
- Guaranteed to meet vehicle requirements for performance, drivability, fuel economy, and emissions.

تصویر: ختمview of Bosch Mass Air Flow Sensor features and benefits, highlighting accurate air flow measurement, OE technology, and guaranteed performance.
2. پیکیج کے مشمولات
- 1 x BOSCH 0280218089 Mass Air Flow (MAF) Sensor
3. پروڈکٹ ختمview
The BOSCH 0280218089 MAF sensor is a critical component in your vehicle's engine management system. Familiarize yourself with its appearance and key parts before installation.

تصویر: سامنے view of the BOSCH 0280218089 Mass Air Flow Sensor.

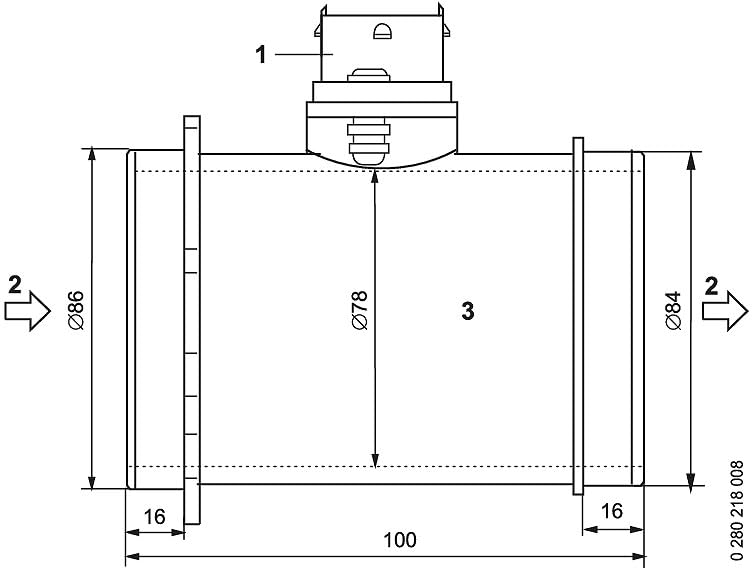
Image: Technical diagram showing the dimensions and airflow direction of the BOSCH 0280218089 MAF Sensor.

تصویر: پھٹا view illustrating the internal components of a Bosch Mass Air Flow Sensor.
4. تنصیب
Proper installation is crucial for the correct function of your new MAF sensor. If you are unsure about any step, it is recommended to consult a qualified mechanic.
تنصیب کے مراحل:
- سب سے پہلے حفاظت: Ensure the vehicle's engine is off and cool. Disconnect the negative terminal of the battery to prevent electrical shorts.
- Locate the MAF Sensor: The MAF sensor is typically located between the air filter box and the throttle body on the intake tract.
- الیکٹریکل کنیکٹر منقطع کریں: Carefully disconnect the electrical connector from the old MAF sensor. Press any release tabs firmly before pulling.
- بڑھتے ہوئے ہارڈ ویئر کو ہٹا دیں: Loosen any hose clamps or remove screws/bolts securing the MAF sensor housing to the intake system.
- پرانے سینسر کو ہٹا دیں: Gently remove the old MAF sensor from its position. It may require some wiggling or prying with a flathead screwdriver if it's tightly seated.
- نیا سینسر انسٹال کریں: Insert the new BOSCH MAF sensor into the intake tract, ensuring it is properly seated and oriented according to the airflow direction (often indicated by an arrow on the sensor body).
- محفوظ ماؤنٹنگ ہارڈ ویئر: Re-tighten any hose clamps or re-install screws/bolts to secure the new sensor. Do not overtighten.
- الیکٹریکل کنیکٹر کو دوبارہ جوڑیں: Reconnect the electrical connector to the new MAF sensor until it clicks securely into place.
- بیٹری کو دوبارہ جوڑیں: بیٹری کے منفی ٹرمینل کو دوبارہ جوڑیں۔
- ٹیسٹ ڈرائیو: Start the engine and perform a short test drive to ensure proper operation and that no warning lights appear on the dashboard.
انسٹالیشن ویڈیو گائیڈ:
Video: A step-by-step guide on how to replace a mass air flow sensor on a Volvo C30, demonstrating the process which is similar for compatible Volvo models.
5. آپریشن
The Mass Air Flow (MAF) sensor is a crucial component that measures the mass flow rate of air entering the engine. This data is sent to the Engine Control Unit (ECU), which uses it to calculate the correct amount of fuel to inject into the cylinders. A properly functioning MAF sensor ensures the engine runs efficiently, maintaining the optimal air-fuel ratio for combustion. This leads to better fuel economy, reduced exhaust emissions, and consistent engine performance.

Image: Comparison of OE airflow specifications, illustrating Bosch's precision compared to equivalent sensors at idle and full load.
6 دیکھ بھال
MAF sensors generally require minimal maintenance. However, to ensure longevity and accurate readings, consider the following:
- ایئر فلٹر کی تبدیلی: Regularly replace your engine's air filter according to the vehicle manufacturer's recommendations. A dirty air filter can restrict airflow and allow contaminants to reach the MAF sensor, affecting its performance.
- آلودگی سے بچیں: Keep the air intake system clean and free from debris. Avoid using oiled air filters unless specifically designed for your vehicle and MAF sensor type, as excess oil can contaminate the sensor element.
- Professional Cleaning (if necessary): If you suspect your MAF sensor is dirty, it can sometimes be carefully cleaned with a specialized MAF sensor cleaner. However, this should only be done if you are confident in the procedure, as improper cleaning can damage the sensor.
7 خرابیوں کا سراغ لگانا
A faulty MAF sensor can lead to various engine performance issues. Common symptoms include:
- Rough idle or stalling
- ناقص ایکسلریشن
- ایندھن کی معیشت میں کمی
- Check Engine Light (CEL) illuminated with MAF-related diagnostic trouble codes (DTCs)
- Engine running too rich or too lean
If you experience these symptoms, first check for loose connections or damaged wiring to the MAF sensor. If symptoms persist, a diagnostic scan tool can confirm MAF sensor-related DTCs. Replacing a faulty MAF sensor with a genuine Bosch part is often the most effective solution.

Image: Warning regarding deviations from OE specifications, which can lead to poor fuel economy, increased emissions, and a check engine light.
8. وضاحتیں
| برانڈ | بوش |
| آئٹم ماڈل نمبر | 0280218089 |
| مواد | پلاسٹک |
| آئٹم کے طول و عرض (L x W x H) | 6.3 x 5.12 x 5.12 انچ |
| شے کا وزن | 11 اونس (312 گرام) |
| انداز | ایئر سینسر |
| پیمائش کی درستگی | اعلی |
| چڑھنے کی قسم | فلانج ماؤنٹ |
| آؤٹ پٹ کی قسم | اینالاگ |
| مصنوعات کے لیے مخصوص استعمال | ہوا کا بہاؤ سینسر |
| اوپری درجہ حرارت کی درجہ بندی | 125 ڈگری سیلسیس |
| یو پی سی | 826732218748 |
| عالمی تجارتی شناخت نمبر | 03165143221341 |
9. وارنٹی اور سپورٹ
Bosch stands behind the quality of its products. For specific warranty information regarding your BOSCH 0280218089 Mass Air Flow Sensor, please refer to the warranty documentation included with your purchase or visit the official Bosch Automotive webسائٹ تکنیکی مدد یا مزید مدد کے لیے، براہ کرم بوش کسٹمر سروس سے رابطہ کریں۔





